Introduction • Architectural Builders Supply stocks a full line of commercial door weatherstripping for exterior commercial doors made from vinyl, rubber neoprene, silicone, aluminum, brass, bronze and stainless steel.
• Our selection of weatherstripping includes the following types of items: Adjustable astragals, Automatic door bottoms, bronze and brass weatherstripping, carpet dividers, corner door seals, cushion spring type door weatherstripping, door bottoms, door sweeps, double door astragals and weatherstripping, drip caps, foam door seals, handicap saddles, head & jab seals, lock strips, overhead door weatherstripping, pile door bottoms, sill extensions, handicap threshold risers & ramps.
• The essential metals used in the manufacture of Dorbin Weatherstrips are: Titanium Zinc, Spring Type Bronze, Cold Rolled Bronze, Spring Type Aluminum and Spring Type Stainless Steel.
• Dorbin Aluminum Thresholds are extruded from 6063T5 heat treated Aluminum Alloy.Mill Finish as Extruded .
• Anodized Finish is U.S. Standard 28 for corrosion resistsnce.
• Architectural Bronze Extruded , also known as Brass Threshold , are suggested for greater strenght, durability and beauty.
• Available in Dull Satin Finish U.S. Standard 10 or Polished Finish U.S. Standard 9. |
Product Description
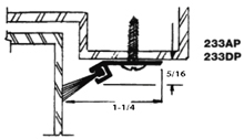
•This weatherstripping is intended for application of overhead garage doors. This weatherstripping is mounted onto the door jamb and installed so as to make contact with the face of the overhead door. Contact our sales department for other sizes,.
•This weatherstrip can also be surface mounted onto the stop of the frame and set so as to make contact with the door face when the door is closed (but not so as to impede door performance).
• It has a nylon angle shaped bristle seal.
• Dark brown anodized finish .
• The weatherstrip has the following dimensions :
Overal width = 1 1/4 ".
Projection from face of frame = 5/16".
• Drilled for and supplied with screws for instalation. Available undrilled, please contact our sale department .
|
 |